GGU-STABILITY: "Geosynthetics" button
Geosynthetics are a special case of soil nails.

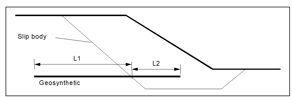
Figure 19 Geosynthetic
For each geosynthetics, you define the start and the end point. The adhesive stress (= bonding stress) is automatically calculated. Using this bonding stress t and the lengths within and outside of the slip body, the program calculates the resultant forces F1 and F2 from:
F1 = f · L1 and F2 = f · L2
The smaller of the two is the governing value. If the smaller value is larger than the maximum acceptable force R,d, only this will be used in the calculations.
If the geosynthetics intersect the slip body twice, the values for L1 and L2 result as follows:

Figure 20 Geosynthetics with two intersections
By starting the program, the "Geosynthetics via company products" check box in the "Editor 1/Analysis options" dialog box is activated by default. When using geosynthetics you directly adopt the products of the geosynthetics manufacturers or the product range you have chosen in the beginning. The following dialog box will open, where the number of geosynthetics must be defined using the "0 Geosynthetics" button.
The required company product can then be selected for each of the geosynthetics. The coefficients defined for a geosynthetics, the length and the inclination can be adopted for the remaining geosynthetics by using the "For others" button.

The force "R0" designates an anchorage at the head of the geosynthetics which can for instance be generated by folding over the geosynthetics. The resulting force cannot be larger than "R,d". After calculations are complete, that part of the resultant force which was taken into account will be colour-filled, so that simple checking is possible.
On exiting the dialog box, the geosynthetics are automatically sorted descending from top to bottom based on the values of y entered.
If geosynthetics by a different manufacturer are required, you select again the menu item "Editor 1/Analysis options". New product lists of different manufacturers can be added using the menu item "Editor 1/Geosynthetics table values".
If the "Geosynthetics via company products" check box is not activated in the "Editor 1/Analysis options" dialog box, the following dialog box opens after clicking the "Geosynthetics" button in the central dialog box. The "Info" button provides additional information on the forces involved.

The required number of geosynthetics can be specified via the "0 geosynthetics" button and then the appropriate values entered. The process can be simplified using the "Automatically" button. A further dialog box opens for automatically generating the geosynthetics. If the "Values from slope face" button is used, the program automatically determines and adopts the x- and y-coordinates of the required slope face.