GGU-UNDERPIN: "Type of redistribution" group box
In the "Type of redistribution" group box of the start dialog box of the "System/Analyse" menu item the following options are available:
Do not redistribute
The analysis is performed using classical earth pressure redistribution."EAB 1988" and "EAB 2012"
Redistribution diagrams are given as a function of anchor positioning in EAB 1988 and EAB 2012. The program selects the appropriate redistribution from these diagrams. If no agreement is found an appropriate error message is shown."Rectangular"
Earth pressure is redistributed in the form of a rectangle."Birectangular"
Earth pressure is redistributed in birectangular form. The relationship between the top and bottom earth pressure ordinates (eaho/eahu), as well as depth of the subdivision x, can be specified.

Figure 23 Birectangular earth pressure redistribution
"Triangular"
Earth pressure is redistributed in the form of a triangle. The associated "Preferences" button enables you to determine the position of the maximum (top, central, bottom).
"Trapezoidal"
Earth pressure is redistributed in the form of a trapezoidal. The associated "Preferences" button enables you to determine the eahu/eaho ratio.

Figure 24 Earth pressure redistribution in a trapezoidal
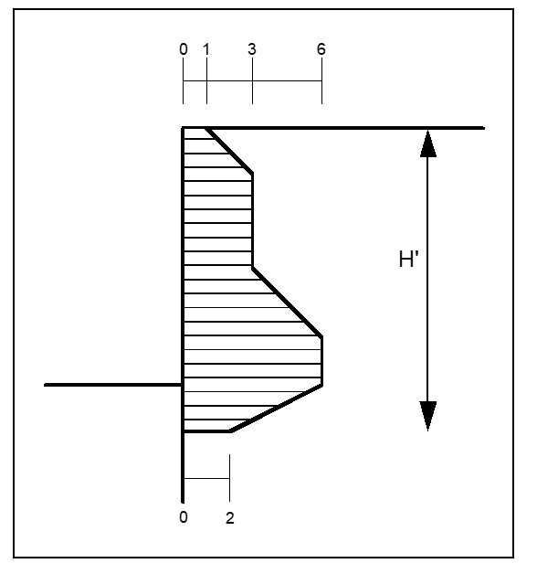
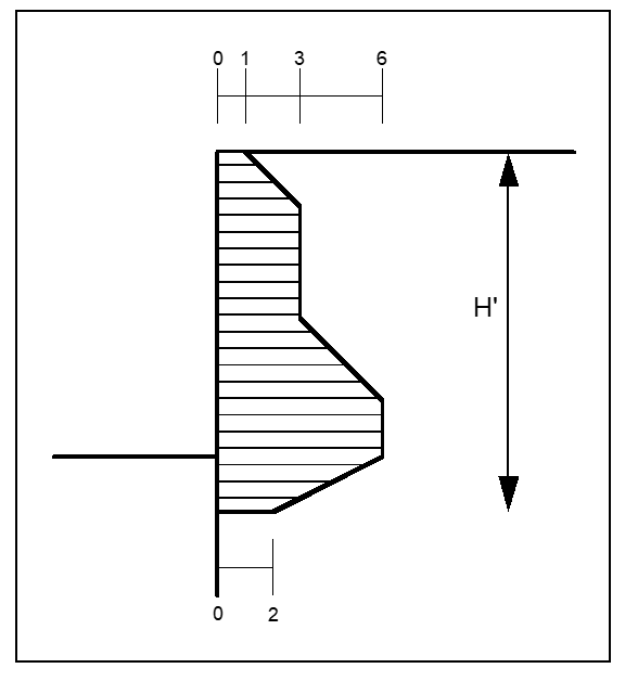
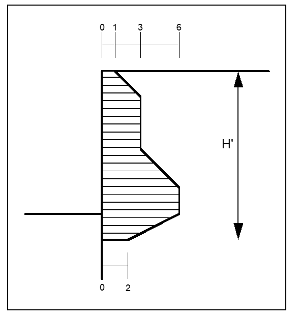
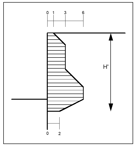
"Quadrilateral"
The earth pressure is redistributed in a quadrilateral. After clicking the "Preferences" button you can select the ordinates at which the maximum should occur, either by entering the depth or, alternatively, the anchor positions. Activate the appropriate check boxes at the left of the dialog box. The ordinate at the load transition point is defined by the ratio eaho/eahu.

Figure 25 Earth pressure redistribution in a quadrilateral
"User-defined"
If none of the offered redistribution figures meet your requirements, you have the option of creating your own by defining a polygon using the "Preferences" button.

You can define a number of depths between the top of the wall and the transition point, to each of which you can appoint appropriate earth pressure ordinates. In subsequent computations, earth pressure will be redistributed in exactly the area defined by the polygon you have created. Using the example in the above dialog box the following diagram is obtained:

Figure 26 User defined earth pressure redistribution